【型号推荐:TH-WQX5B,气象环境监测仪器设备生产厂家,云境天合支持商家定制服务,设备选择山东云境天合您放心】负氧离子传感器的作用—监测生态功能区的负氧离子浓度,评估生态修复效果负氧离子传感器是一种用于实时监测空气中负氧离子浓度的专业设备,广泛应用于林业、环保、气象、旅游、城市规划及室内环境监测等领域,是评估空气质量、改善生态环境的“数字哨兵"。工作原理主要基于电离和电荷感应原理,或“电容式收集法"、“平行电板式"技术。当负氧离子进入传感器内部时,会与电极发生作用,引起电荷量变化。传感器通过检测这种变化并结合内置算法,计算出空气中负氧离子的浓度。传感器采用双重圆筒轴式结构,利用三同心圆筒稳定气流,减少环境干扰,提升检测精度。同时,集成筒电容空气收集器,具备优良的静电屏蔽功能,确保数据准确性。支持实时监测负氧离子浓度,并通过无线通信技术(如4G、5G、LoRa)或有线传输方式,将数据实时上传至云端平台或本地管理系统。

一、产品简介
我司作为专业研发生产销售微型气象仪的企业,一直致力于微型气象仪和气象环境解决方案推广应用。具有完整的生产链、实力雄厚的技术团队和全面的营销团队,我们研发生产的五要素微气象仪、六要素微气象仪和小型自动气象站等气象产品,已广泛应用到气象监测、城市环境监测、风力发电、航海船舶、航空机场、桥梁隧道等领域,客户遍布全国各地,并取得了良好的社会效益和经济效益。
WQX5B型五要素微气象仪创新性地将负氧离子、空气温度、湿度、PM2.5、PM10等气象要素通过一个高集成度结构来实现,可实现户外气象参数24小时连续在线监测,通过数字量通讯接口将五项参数一次性输出给用户。
二、产品特点
1、抗干扰能力强,具有看门狗电路,自动复位功能,保证系统稳定运行
2、高集成度,无移动部件,零磨损
3、免维护,无需现场校准
4、采用ASA工程塑料室外应用常年不变色
5、产品设计输出信号标配为RS485通讯接口(MODBUS协议);可选配232、USB、以太网接口,支持数据实时读取☆
6、可选配无线传输模块,最小传输间隔1分钟
7、探头为卡扣式设计,解决了运输、安装过程松动不准的问题☆
三、技术参数
1、空气温度:测量原理二极管结电压法,-40-80℃(±0.3℃)分辨率0.01℃;
2、空气湿度:测量原理电容式,0-100%RH(±3%RH)分辨率0.01%RH;
3、PM2.5:测量原理光散射,0-1000ug/m3(±10%)分辨率1ug/m3
4、PM10:测量原理光散射,0-1000ug/m3(±10%)分辨率1ug/m3
5、负氧离子:测量原理圆筒式电极吸入式,0-10万个/cm³(±10%)分辨率1个/cm³
6、功率:2.3W
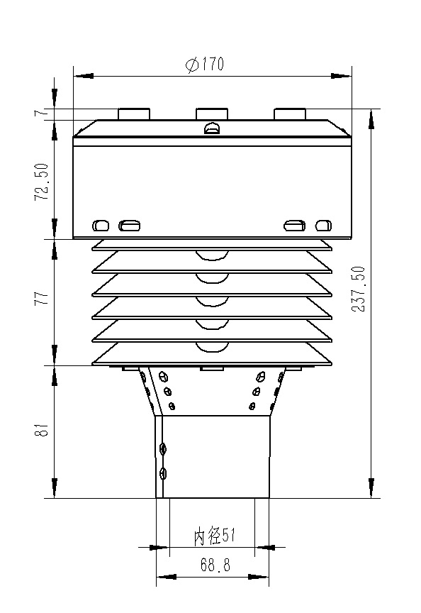
四、产品尺寸图
五、产品结构图
六、产品接线定义
| 定义 | 备注 | |
| VCC | 电源正 | DC12V |
| GND | 电源地 | |
| 485A | RS485A | |
| 485B | RS485B |